轮胎动平衡测试机旋转接头
![]() |
-

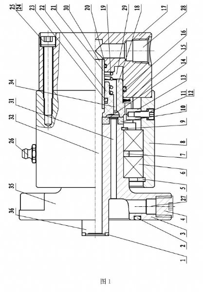
轮胎动平衡实验机*旋转接头ZLT20型旋转接头是一种专门为橡塑行业而设计的一种旋转接头,内部采用碳石墨密封环密封,使用滚针轴承支撑,可以使用很高的转速,是一种高速旋转接头。ZLT20型旋转接头为两通道的旋转接头。ZLT20型旋转接头能以不同的压力流通相同的流通介质。
接头结构特点:
平面密封技术
高精度金属轴承
整体抗震结构
铝合金壳体
不锈钢转子
多种密封组合适应不同工况
通用性好、便于互换
长寿命、高可靠性
双通路自支撑设计使用参数:
压力:10MPa
温度:150℃
转速:2000-6000rpm
适用介质:空气。
具体事宜可与公司技术部洽询。




- 无锡力隆科技有限公司
主营业务:旋转接头,快换接头,金属软管,管道补偿器,汽水分离器,视流器等密封件
联 系 人 :周明
联系方式:0510-82356422 13915331039 → 联系我时请告知是在建材采购网看到的
详情介绍更新时间:2022/11/17 8:36:56
相关产品

- 煤层注水用封孔器 矿用封孔器 瓦斯抽放封孔器
价格:980元/套 品牌:志林科工
FKSS-69/8型矿用封孔器通过向煤层注水,使煤体的水分增加,湿润煤体颗粒,有效地仰制煤层的产尘量,降..

- SDT-380型引射式瓦斯稀释器 煤矿用引射式瓦斯稀释器
价格:电询 品牌:志林科工
SDT引射式瓦斯稀释器是处理煤矿井下用瓦斯聚集的专用设备。它采用压缩空气作为动力,不带电工作,不产生摩擦..

- 智能废旧钢筋切粒机 钢筋加工设备
价格:30000元/套 品牌:山东飞宏
公司简介: 山东飞宏工程机械有限公司,是一家集钢筋加工、金属加工整体解决方案为一体的高新技术企业,..

- 供应森林消防装备运输车
价格:198000元/台 品牌:江特
森林消防装备运输车也叫装备车、器材车、挖土机,主要用于运输像在森林运输扑灭机具,消防器材等,同时也具..

- 框架式输送带脱磁器 干法脱磁器 框架式干粉脱磁器
价格:8800元/台 品牌:华唐
华唐新品框架式干粉脱磁器, HT谐合波单线圈脱磁器(我公司已排除线圈发热问题,无需双线圈交替工..

- 小型工业制氮气连续生产氮气设备-氮气发生器
价格:电询
氮气通常状况下是一种无色无味的气体,氮气约占大气总量的78%,是空气的主要成分之一。氮气的化学性质不..

- 小型电焊条生产线 液压涂粉机
价格:电询 品牌:恒戈
山东恒戈焊材有限公司自成立以来,秉承电焊条生产线机械设备制造领域的初心,追求产品稳定性与标准化的步履不停..

- 河南京宝焦化 COSMIC 焦化厂用 装入装置用 干熄焦循环电动缸
价格:电询 品牌:COSMIC
路遥知马力——今天的河南骄阳似火,上海达铁到京宝焦化进行现场实拍,京宝焦化采用的COSMIC干熄焦电动缸..

